欢迎光临~一家专业生产双向可控硅-单向可控硅-优质可控硅深圳晶闸管制造厂家-品质保证-HXW环昕微广东品牌-东莞市环昕微实业有限公司官网-值得信赖
语言选择:
∷
搜 索
Toggle navigation
导航菜单
网站首页
公司简介
产品中心
电流60A至100A双向可控硅(晶闸管)
电流25A至40A双向可控硅(晶闸管)
电流12A至20A双向可控硅(晶闸管)
电流6A至10A双向可控硅(晶闸管)
电流2A至5A双向可控硅(晶闸管)
电流0.8A至1.5A双向可控硅(晶闸管)
电流0.6A至1.5A单向可控硅(晶闸管)
电流2A至5A单向可控硅(晶闸管)
电流16A至40A单向可控硅(晶闸管)
电流6A至12A单向可控硅(晶闸管)
电流50A至75A单向可控硅(晶闸管)
电流90A至130A单向可控硅(晶闸管)
新闻中心
公司新闻
行业新闻
科技创新
下载中心
公司产品相册
可控硅封装外形展示
工厂和产线图片
在线留言
在线订购
联系我们
公司新闻
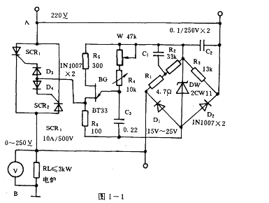
两个100A单向可控硅应用工业大电炉功率调节器线
图1一1所示的电路适用于工业大功率负载进行功率调节。如果
可控硅
用100A的,负载功率可达30kW。该电路简单,线性好,导通角可达175。输出电压在215V以内任意调节。
接上电源,当A正B负时,SCR2
单向可控
硅反偏,BG输出脉冲经D3开通SCR1单向可控硅;当B正A负时,SCRl单向可控硅反偏,BG输出脉冲开通SCR2。调节W改变C3的值(即调节充电时问).即可改变SCR单向可控硅的导通角.实现电炉功率调节。
上一篇:
简单双向可控硅多用途电子调节器
下一篇:
单向可控硅微动触点大功率控制电路图案例
相关新闻
双向可控硅应用吸尘器的电路
2020-07-27
双向可控硅应用洗衣机电路
2020-07-27
双向可控硅遥控电风扇的应用电路
2020-07-27
BTA12可控硅线路图
2020-07-27
单向可控硅应用线路图
2020-07-27
单向可控硅应用摩托车线路
2020-07-27
栏目导航
公司新闻
+
行业新闻
+
科技创新
+
新闻中心
BTA41-800B双向可控硅触发线路图
2020-07-27
双向可控硅应用交流开关
2020-07-27
双向可控硅应用吸尘器的电路
2020-07-27
双向可控硅应用洗衣机电路
2020-07-27
双向可控硅遥控电风扇的应用电路
2020-07-27
联系我们
CONTACT US
联系人:刘经理
手机:18926008145
电话:0769-88461176
邮箱:style@huanxinwei.com
地址: 东莞市高埗镇高埗稍潭村理文街第A24座2号
分享
手机
分类
顶部
关闭
环昕微实业
关闭
用手机扫描二维码
关闭